Một chiếc đồng hồ thông minh có camera liệu có phải một ý tưởng tuyệt vời? Trên thực tế rất nhiều người dùng đã mong đợi tính năng này từ lâu. Một báo cáo mới đây của Apple Insider cho biết nhà Táo đang thử nghiệm một số giải pháp trong bằng sáng chế mới. Trong đó Apple Watch có thể sẽ được bổ sung camera trên Digital Crown.
![]() |
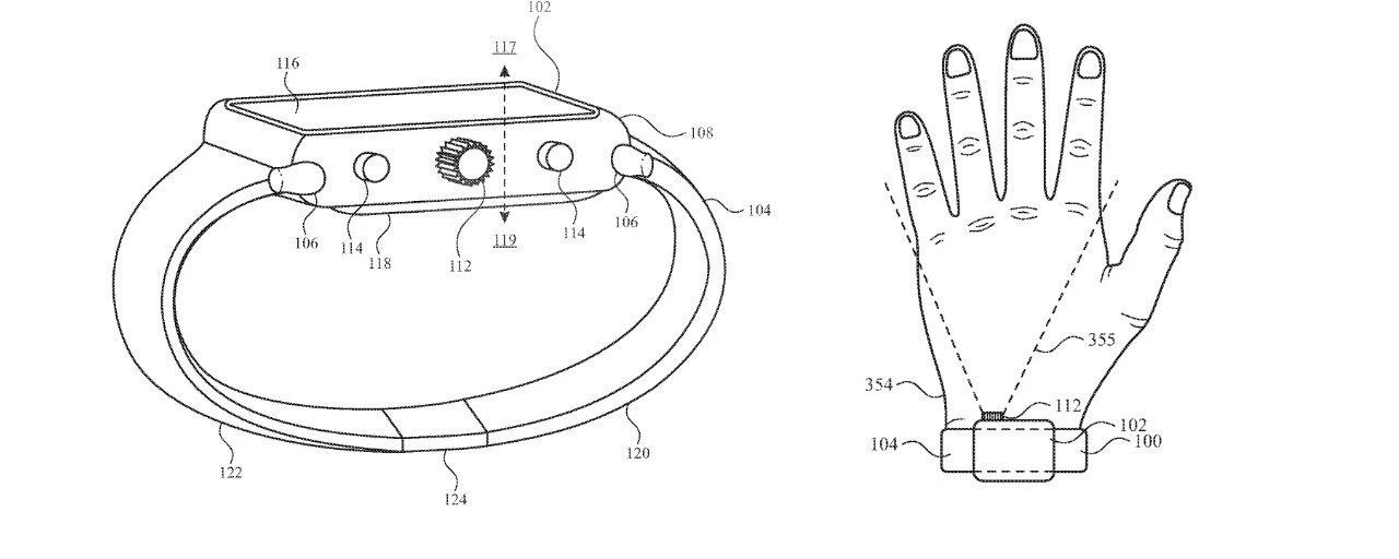
Phần chính của bằng sáng chế tập trung vào cách lắp máy ảnh vào Digital Crown của Apple Watch. Nếu bạn chưa biết, Digital Crown là nút nhỏ có thể xoay để điều hướng Apple Watch. Digital Crown là một bộ phận máy móc phức tạp và việc lắp một ống kính vào nó có thể là một chút thách thức. Tuy nhiên, có một bằng sáng chế trước đó của Apple đề cập đến một bản cải tiến của Digital Crown để đặt vừa với một cái gì đó như ống kính máy ảnh.
![]() |
Với một chiếc camera, bạn có thể chụp ảnh với Apple Watch ngay cả khi không mang theo smartphone. Bằng sáng chế nhấn mạnh vào việc Apple sẽ đưa máy ảnh lên đồng hồ, hoặc nhúng dưới màn hình của thiết bị. Tuy nhiên, nó cũng đề cập đến việc người dùng có thể phải tháo đồng hồ khỏi cổ tay để có thể chụp ảnh. Dù thế nào thiết bị này vẫn đang được phát triển và các thông tin sẽ tiếp tục được cập nhật trong thời gian tới.
![]() |


