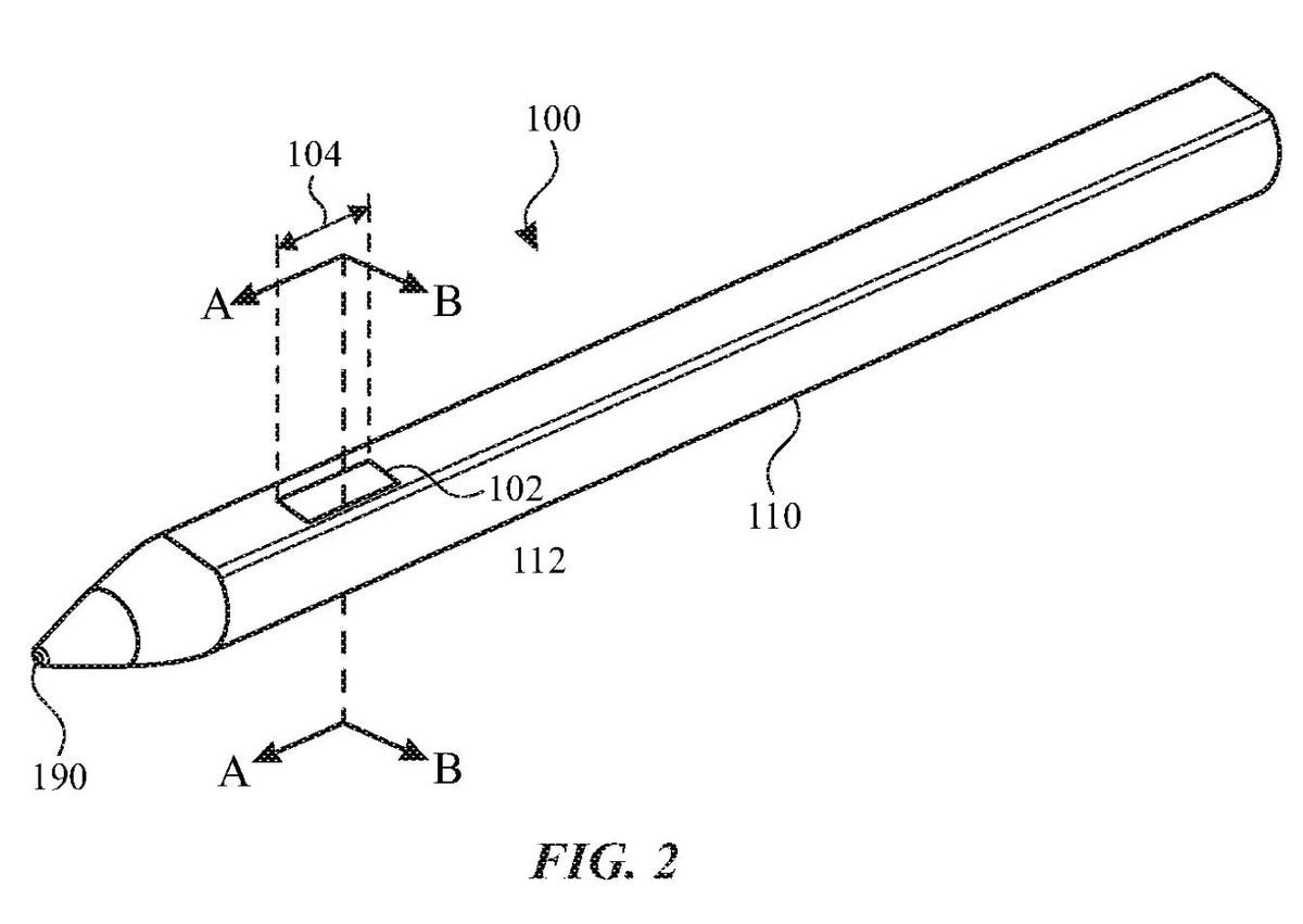
Báo cáo từ Petenly Apple đã tiết lộ thông tin về Apple Pencil thế hệ tiếp theo. Cụ thể, Apple đã được cấp bằng sáng chế cho một chiếc Apple Pencil mới. Nó được mô tả là có các cảm biến màu tích hợp vào đầu bút. Nhờ đó người dùng có thể lấy màu bằng cách chạm vào bề mặt các vật thể trong thế giới thực.
![]() |
Điều này nghe thật khó tin nhưng quả thực, Apple đang nghiên cứu phát triển tính năng này. Hình ảnh trong bằng sáng chế cho thấy Apple Pencil 3 có thể đi kèm với cảm biến ánh sáng được tích hợp xung quanh đầu bút. Ngoài ra còn có bộ phát sáng và bộ phát hiện ánh sáng, màu sắc. Nhờ đó nó có thể nhận diện chỉ bằng cách chạm vào bề mặt vật thể.
![]() |
Tất nhiên, bằng sáng chế không tiết lộ bất kỳ tính năng nào khác của sản phẩm sắp ra mắt. Apple đã nộp bằng sáng chế này từ năm 2020. Trong khi đó Apple Pencil 2 đã ra mắt từ năm 2018. Do đó rất có thể công ty đang hướng đến công nghệ mới cho chiếc Apple Pencil 3 sẽ được công bố trong tương lai gần.
![]() |


